英国斯派莎克DCV2对夹式止回阀详细介绍
斯派莎克spiraxsarcoDCV2对夹式止回阀系列提供各种形式的止回阀,可有效的防止管道中流体回流。斯派莎克spiraxsarcoDCV2对夹式止回阀专门用于锅炉给水,防止锅炉水倒流。同时安装和维修简便。DCV系列止回阀结构紧凑,安装简便。可安装在垂直或水平管道或倾斜管道,只需简单的两片法兰对夹安装即可。DCV2/B系列止回阀采用特殊结构。![]()
斯派莎克DCV2对夹式止回阀参数:
适用压力:1.0-4.0MPa
适用温度:-60°C-400°C
公称通径:DN15-DN100
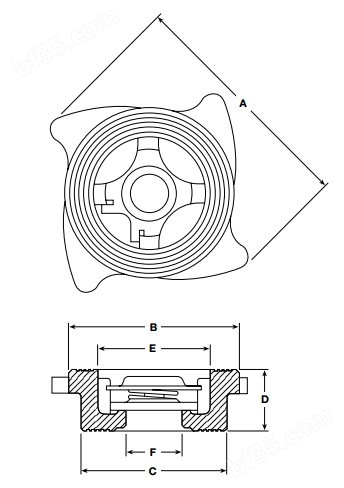
斯派莎克DCV2对夹式止回阀结构尺寸:
斯派莎克DCV2对夹式止回阀的特点:
电话:021-61559758
手机:13472856186 17621785578
销售部负责人:陈经理
业务QQ:3059271438
业务邮箱:3059271438@qq.com
公司:www.ebrofluidvalves.cn
英国斯派莎克产品适用于各个行业中的水、油、水理、化工、石化、石油、造纸、采矿、电力、液化、食品、制药、给排水、市政、机械设备配套、电子工业,城建、工业管道等领域。常年备有现货,可通过快捷的运输方式交到客户手中。





上海依搏罗流体控制阀门有限公司
77 


浙公网安备33010502012242号