保温球阀,沥青阀门,防介质凝固的阀门,通蒸汽阀门
博耐斯BQ41F保温球阀具有良好的保温保冷特性,且阀门的通径和管径一至,介质呈直线流动,阻力小,适合容易凝固、高粘度的液体介质。同时又能降低管路中介质的热量损失。整体式夹套设计,能均匀地保温、保冷。主要用于石油、化工、制药、食品等各类系统中,以输送常温下会凝固的高粘度介质。024-62657366
制造标准
设计标准 | ASMEB16.34GB/T12224 |
结构长度 | ASMEB16.10GB/T12221 |
连接法兰 | ASMEB16.5JB/T79 |
驱动方 | 手动、电动、气 |
试验和检验 | JB/T9092API598 |
适用介质 | 重油、胶类等易凝固介质 |
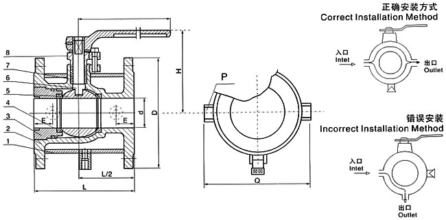
主要零部件材质
序号 | 零件名称 | 材质 | |
GB | ASTM | ||
1 | 夹套 | 25 | A105 |
2 | 阀座 | WCB | A216-WCB |
3 | 阀体 | 25 | A105 |
4 | 密封圈 | PTFE、对位聚苯 | |
5 | 球体 | ||
6 | 阀杆 | 1Cr13 | A247-410 |
7 | 填料 | 柔性石墨 | |
8 | 填料压盖Gland | WCB | A216-WCB |
主要外形及连接尺寸

公称通径(DN) | b | L | D | E | Q | H | W | 管螺纹 | ||
(mm) | (in) | (mm) | (in) | P | ||||||
20 | 3/4″ | 19 | 117 | 40 | 11/2″ | 58.5 | 147 | 101 | 170 | G3/4″ |
25 | 1″ | 25 | 127 | 50 | 2″ | 62.5 | 156 | 106 | 170 | G3/4″ |
40 | 11/2″ | 38 | 165 | 65 | 21/2″ | 63.5 | 181 | 125 | 250 | G3/4″ |
50 | 2″ | 51 | 178 | 80 | 3″ | 68 | 218 | 135 | 250 | G3/4″ |
80 | 3″ | 76 | 229 | 150 | 6″ | 82 | 275 | 193 | 350 | G3/4″ |
100 | 4″ | 102 | 254 | 200 | 8″ | 83 | 300 | 265 | 420 | G3/4″ |
150 | 6″ | 152 | 292 | 250 | 10″ | 95 | 403 | 355 | 1000 | G3/4″ |
200 | 8″ | 203 | 330 | 300 | 12″ | 100 | 492 | 410 | 1300 | G3/4″ |
保温球阀,沥青阀门,防介质凝固的阀门,通蒸汽阀门





4790
沈阳博耐斯阀门制造有限公司


浙公网安备33010502012242号